882F倒置桶式蒸汽疏水閥產品概述
992、882F倒置桶式蒸汽疏水閥由吊桶內凝結水的液位變化驅動倒置桶帶動閥芯的啟閉動作,而起到排水阻汽的作用,當裝置剛啟動時,管道內的空氣和低溫凝結水進入閥內,倒置桶靠自身重量下墜,倒置桶連接杠桿帶動閥芯開啟蒸汽疏水閥,空氣和低溫凝結水迅速排出,當蒸汽進入倒置桶內,倒置桶的蒸汽產生向上浮力,倒置桶上升連接杠桿帶動閥芯關閉閥門,倒置桶上開有一小孔,當一部份蒸汽從小孔排出,另一部份蒸汽產生凝結水,倒置桶失去浮力,靠自身重量向下沉,倒置桶連接杠桿帶動閥芯開啟閥門,循環工作,間斷排放凝結水。該閥的工作部件都安裝在閥蓋上,使用戶維修十分方便,并且蒸汽和凝結水中的雜物,通過U型通道進入閥體后,能沉淀在閥體底部,避免了雜物對關閉性能的影響,故抗污垢能力強。本產品漏汽量低,可排空氣及不凝性氣體,不怕水擊,內件全部采用不銹鋼,活動零部件設計時已充分考慮了磨損余量,提高了使用時間。
882F倒置桶式蒸汽疏水閥部件材料
序號 | 部件名稱 | 材料名稱 | ||||
1 | 閥 體 | A216 WCB | A217 WC6 | A351 CF8 | A351 CF8M | A351 CF3M |
2 | 閥 蓋 | A216 WCB | A217 WC6 | A351 CF8 | A351 CF8M | A351 CF3M |
3 | 倒 置 桶 | A240 304 | A240 304 | A240 304 | A240 316 | A240 316L |
4 | 連 桿 | A276 304 | A276 304 | A276 304 | A276 316 | A276 316L |
5 | 閥 芯 | A276 430 | A276 430 | A276 304 | A276 316 | A276 316L |
6 | 閥 座 | A276 430 | A276 430 | A276 304 | A276 316 | A276 316L |
7 | 過 濾 網 | A240 304 | A240 304 | A240 304 | A240 316 | A240 316L |
8 | 堵 頭 | A105 | A182 F11 | A182 304 | A182 316 | A182 316L |
9 | 螺 栓 | A193 B7 | A193 B16 | A193 B8 | A193 B8M | A193 B8M |
10 | 螺 母 | A194 2H | A194 4 | A194 8 | A194 8M | A194 8M |
882F倒置桶式蒸汽疏水閥技術規范
公稱壓力PN(MPa) | 1.6 | 2.5 | 4.0 | 2.0 | 5.0 |
殼體試驗壓力(MPa) | 2.4 | 3.75 | 6.0 | 3.0 | 7.5 |
設計制造 | GB/T 22654-2008 蒸汽疏水閥 技術條件 | ||||
結構長度 | GB/T 12250-2005 蒸汽疏水閥 術語、標志、結構長度 | ||||
法蘭標準 | JB/T 79、JB/T 82、GB/T 9113、GB/T 9115、HG/T 20592、HG/T 20615、ASME B16.5等 | ||||
檢驗驗收 | GB/T 12251-2005 蒸汽疏水閥 試驗方法 | ||||
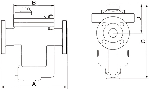
882F倒置桶式蒸汽疏水閥外型尺寸
公稱壓力 PN | 公稱通徑 DN | 尺寸(mm) | 參考重量 KG | |||
A | B | C | D | |||
16 ~ 40 (Class150)20 | 15 | 230 | 130 | 238 | 145 | 9.0 |
20 | 230 | 130 | 238 | 145 | 10.1 | |
25 | 230 | 130 | 238 | 145 | 10.5 | |
882F倒置桶式蒸汽疏水閥結構圖

如果你需訂購我廠倒置桶式蒸汽疏水閥,煩請說明使用壓力、公稱壓力、公稱通徑、閥體和內件材質、工作溫度、法蘭標準,是否帶配件等,如果你使用的場合十分復雜時,請提供設計圖紙或詳細參數,由本公司技術員為您審核把關。我廠生產與本產品同一系列的還有881F、883F、884F、885F、886F和991、993、994、995、996等。
網站首頁