三通反折流過濾器產品介紹
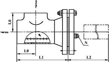
三通反折流過濾器由三通、法蘭、法蘭蓋、排放絲堵、濾網濾筒和濾芯擋圈等構成,其法蘭通過電焊工藝焊接在三通管的管口上,圓型濾芯擋圈正置于三通管件的直通管形的入口處,圓臺型濾芯一端放置在圓形擋圈上,另一端用法蘭蓋壓緊固定,該濾芯由濾筒和安裝在濾筒外的濾網兩部分組成,當流體進入置有一定規格濾網的濾筒后,其雜質被阻擋,而清潔的濾液則由過濾器出口排出。
三通反折流過濾器接口端連接方式可采用法蘭、對焊、承插焊和內螺紋等,其主要用于化工、石油化工、輕工等生產中的液體及氣體物料,用以過濾其固體雜質,其通常裝設在泵、閥門、壓縮機的入口或流量儀表前的管道上,以保護此類設備或儀表。本產品宜安裝在有90°流向變化處,以節省彎頭。
三通反折流過濾器部件材料
| 序號 | 部件名稱 | 材料名稱 | ||||
| 1 | 三 通 | 20 | 15CrMo | 304 | 316 | 316L |
| 2 | 法 蘭 | A105 | 15CrMo | 304 | 316 | 316L |
| 3 | 法 蘭 蓋 | Q235B | 15CrMo | 304 | 316 | 316L |
| 4 | 濾筒濾網 | 304 | 304 | 304 | 316 | 316L |
| 5 | 密 封 墊 | 聚四氟乙烯、金屬環墊片、金屬纏繞墊(帶內外環) | ||||
| 6 | 濾 座 | Q235B | 15CrMo | 304 | 316 | 316L |
| 7 | 螺 栓 | 35CrMoA | 35CrMoA | 304 | 316 | 316 |
| 8 | 螺 母 | 30CrMo | 30CrMo | 304 | 316 | 316 |
| 9 | 排污絲堵 | 304 | 304 | 304 | 316 | 316L |
三通反折流過濾器技術規范
| 公稱壓力PN(MPa) | 1.6 | 2.5 | 4.0 | 2.0 | 5.0 |
| 殼體試驗壓力(MPa) | 2.4 | 3.75 | 6.0 | 3.0 | 7.5 |
| 密封試驗壓力(MPa) | 1.76 | 2.75 | 4.4 | 2.2 | 5.5 |
| 設計制造 | SH/T 3411-2017、GB/T 14382-2008、HG/T 21637-2021 | ||||
| 對焊接端 | 按GB/T 12224-2005或ASME B16.25-2017的規定 | ||||
| 檢驗試驗 | SH/T 3411-2017、GB/T 14382-2008、HG/T 21637-2021 | ||||
| 工作溫度 | -196℃ ~ 540℃ | ||||
| 過濾精度 | 20μm ~ 16000μm | ||||
三通反折流過濾器主要尺寸
| 公稱壓力 PN | 公稱尺寸 DN | 安裝尺寸mm | 過濾面積 cm2 | 排污口N | ||
| L0 | L1 | L2 | 管螺紋 | |||
| 16 | 50 | 64 | 176 | 164 | 120 | R? |
| 65 | 76 | 197 | 182 | 160 | R? | |
| 80 | 86 | 222 | 207 | 220 | R? | |
| 100 | 105 | 262 | 244 | 329 | R? | |
| 125 | 124 | 303 | 283 | 486 | R? | |
| 150 | 143 | 341 | 321 | 685 | R? | |
| 200 | 178 | 418 | 396 | 1152 | R? | |
| 250 | 216 | 502 | 480 | 1737 | R? | |
| 300 | 254 | 586 | 561 | 2357 | R? | |
| 350 | 279 | 640 | 615 | 3077 | R? | |
| 400 | 305 | 695 | 670 | 3839 | R? | |
| 25 | 50 | 64 | 176 | 164 | 120 | R? |
| 65 | 76 | 204 | 189 | 160 | R? | |
| 80 | 86 | 230 | 215 | 220 | R? | |
| 100 | 105 | 275 | 255 | 329 | R? | |
| 125 | 124 | 316 | 296 | 486 | R? | |
| 150 | 143 | 361 | 341 | 685 | R? | |
| 200 | 178 | 436 | 411 | 1152 | R? | |
| 250 | 216 | 520 | 495 | 1737 | R? | |
| 300 | 254 | 600 | 575 | 2357 | R? | |
| 350 | 279 | 658 | 633 | 3077 | R? | |
| 400 | 305 | 720 | 695 | 3839 | R? | |
| 40 | 50 | 64 | 176 | 164 | 120 | R? |
| 65 | 76 | 204 | 189 | 160 | R? | |
| 80 | 86 | 230 | 215 | 220 | R? | |
| 100 | 105 | 275 | 255 | 329 | R? | |
| 125 | 124 | 316 | 296 | 486 | R? | |
| 150 | 143 | 361 | 341 | 685 | R? | |
| 200 | 178 | 444 | 419 | 1152 | R? | |
| 250 | 216 | 537 | 512 | 1737 | R? | |
| 300 | 254 | 623 | 598 | 2357 | R? | |
| 350 | 279 | 683 | 658 | 3077 | R? | |
| 400 | 305 | 745 | 720 | 3839 | R? | |
| (Class150) 20 | 50 | 64 | 192 | 180 | 120 | R? |
| 65 | 76 | 222 | 207 | 160 | R? | |
| 80 | 86 | 242 | 227 | 220 | R? | |
| 100 | 105 | 286 | 268 | 329 | R? | |
| 125 | 124 | 337 | 320 | 486 | R? | |
| 150 | 143 | 375 | 358 | 685 | R? | |
| 200 | 178 | 458 | 439 | 1152 | R? | |
| 250 | 216 | 534 | 513 | 1737 | R? | |
| 300 | 254 | 622 | 599 | 2357 | R? | |
| 350 | 279 | 685 | 660 | 3077 | R? | |
| 400 | 305 | 737 | 711 | 3839 | R? | |
| (Class300) 50 | 50 | 64 | 198 | 186 | 120 | R? |
| 65 | 76 | 228 | 213 | 160 | R? | |
| 80 | 86 | 251 | 236 | 220 | R? | |
| 100 | 105 | 296 | 276 | 329 | R? | |
| 125 | 124 | 346 | 326 | 486 | R? | |
| 150 | 143 | 384 | 364 | 685 | R? | |
| 200 | 178 | 467 | 445 | 1152 | R? | |
| 250 | 216 | 549 | 527 | 1737 | R? | |
| 300 | 254 | 638 | 613 | 2357 | R? | |
| 350 | 279 | 701 | 676 | 3077 | R? | |
| 400 | 305 | 756 | 730 | 3839 | R? | |
三通反折流過濾器結構圖

如果你需訂購我廠T型過濾器產品,咨詢時煩請說明產品類型,法蘭執行標準、公稱通徑、公稱壓力、濾芯材質、過濾介質及過濾精度,是否配對法蘭、螺栓螺母及墊片等,本產品根據實際工況需要可采用《SH/T 3411-1999石油化工泵用過濾器選用、檢驗及驗收》、《GB/T 14382-2008管道用三通過濾器》和《HG/T 21637-1991化工管道過濾器》等標準設計和制造。
網站首頁