鋁青銅T型過濾器產品介紹
鋁青銅T型過濾器是一種三通管、法蘭、法蘭蓋和濾座等主要部件選用C95800、C95500、C83600或C63200等鋁青銅材料并采用氬弧焊接工藝焊制而成的T型過濾器,該種材質系高強度銅合金,有較高的力學性能,耐磨性和耐蝕性能好。本產品結構簡單、設計合理,密封性能好、耐磨耐腐蝕、工作壽命長,使用和維護相當方便,常用于海水、硫酸鹽、氯化物等耐腐蝕工況介質的過濾。
鋁青銅T型過濾器有直流式、正折流式和反折流式三種結構型式。直流式的三通管的左端為進料口,右端為出料口,頂端連接法蘭,法蘭上設有法蘭蓋,橢圓型濾座斜置在三通管的直通管形內部,圓柱型濾芯的下部設有與橢圓型濾座坡度匹配的斜坡,并放置在橢圓型濾座凹槽內固定。正、反折流式的三通管的左端分別為進、出料口,頂端為出、進料口,右端焊有法蘭,并設有法蘭蓋,圓型濾座正置在三通管的直通管形管口處,圓臺型濾芯放置在圓型濾座凹槽內固定。
鋁青銅T型過濾器部件材料
| 序號 | 部件名稱 | 材料名稱 | ||||
| 1 | 三 通 管 | C95800 | C95500 | C83600 | C63200 | C63000 |
| 2 | 法 蘭 | C95800 | C95500 | C83600 | C63200 | C63000 |
| 3 | 法 蘭 蓋 | C95800 | C95500 | C83600 | C63200 | C63000 |
| 4 | 濾筒濾網 | 2205 | 2205 | 2205 | 2205 | 2205 |
| 5 | 濾 座 | C95800 | C95500 | C83600 | C63200 | C63000 |
| 6 | 密 封 墊 | PTFE | PTFE | PTFE | PTFE | PTFE |
| 7 | 螺 栓 | 316 | 316 | 316 | 316 | 316 |
| 8 | 螺 母 | 316 | 316 | 316 | 316 | 316 |
鋁青銅T型過濾器技術規范
| 公稱壓力PN(MPa) | 1.6 | 2.5 | 4.0 | 2.0 | 5.0 |
| 殼體試驗壓力(MPa) | 2.4 | 3.75 | 6.0 | 3.0 | 7.5 |
| 氣密性試驗壓力(MPa) | 1.6 | 2.5 | 4.0 | 2.0 | 5.0 |
| 設計制造 | GB/T 14382-2008 管道用三通過濾器 | ||||
| 對焊接端 | 按GB/T 12224-2005或ASME B16.25-2017的規定 | ||||
| 檢驗試驗 | GB/T 14382-2008 管道用三通過濾器 | ||||
| 工作溫度 | -196℃ ~ 540℃ | ||||
| 過濾精度 | 20μm ~ 16000μm | ||||
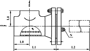
鋁青銅T型過濾器主要尺寸
| 公稱壓力 PN | 公稱通徑 DN | 尺寸/mm | 過濾面積 cm2 | 排污口N | ||
| L0 | L1 | L2 | 管螺紋 | |||
| 16 | 50 | 64 | 176 | 164 | 120 | R? |
| 65 | 76 | 197 | 182 | 160 | R? | |
| 80 | 86 | 222 | 207 | 220 | R? | |
| 100 | 105 | 262 | 244 | 329 | R? | |
| 125 | 124 | 303 | 283 | 486 | R? | |
| 150 | 143 | 341 | 321 | 685 | R? | |
| 200 | 178 | 418 | 396 | 1152 | R? | |
| 250 | 216 | 502 | 480 | 1737 | R? | |
| 300 | 254 | 586 | 561 | 2357 | R? | |
| 350 | 279 | 640 | 615 | 3077 | R? | |
| 400 | 305 | 695 | 670 | 3839 | R? | |
鋁青銅T型過濾器主要結構圖

如果你需訂購我廠T型過濾器產品,咨詢時煩請說明產品類型,公稱通徑、公稱壓力、濾芯材質、過濾介質和過濾精度、法蘭執行標準及密封面形式,是否配對法蘭、螺栓螺母及墊片等,本產品可根據工況需要采用法蘭、對焊、承插焊、螺紋及其他連接型式。以上為對焊連接正、反折流式外型尺寸,如需其他尺寸參數,煩請聯系我司銷售人員。
網站首頁