電動法蘭球閥產品概述
電動法蘭球閥由端部連接形式為法蘭的球閥與電動執行機構組成,該閥可以電動遙控控制,也可就地手動操作,帶有行程開關信號燈和就地開度指示,其電裝無須另配伺服放大器,接入電壓為單相220V或三相380V、頻率50Hz/60Hz的電源即可在閥桿上端施加一定的轉矩并傳遞給球體,使它旋轉90度,球體的通孔則與閥體通道中心線重合或垂直,閥門便完成了全開或全關的動作,從而實現對管道內介質的流通或截斷。本產品通常用于遠程切斷或接通管路中的介質,亦可用于流體的流量調節與控制,具有啟閉迅速、結構緊湊,體積小,重量輕,流體阻力小、閥座與端面法蘭距離近,物料滯留少,密封性能好等特點,廣泛應用于石油、石化、化工、冶金、造紙、制藥、環保等行業。
電動法蘭球閥部件材料
| 序號 | 部件名稱 | 材料名稱 | ||||
| 1 | 左 閥 體 | WCB | CF8 | CF3 | CF8M | CF3M |
| 2 | 右 閥 體 | WCB | CF8 | CF3 | CF8M | CF3M |
| 3 | 球 體 | A105 | 304 | 304L | 316 | 316L |
| 4 | 閥 座 | R-PTFE、PTFE、TEFLON、NYLON、PPL、PEEK、DEVLON、SS+HF | ||||
| 5 | 閥 桿 | 2Cr13 | 304 | 304L | 316 | 316L |
| 6 | 填料壓蓋 | WCB | CF8 | CF3 | CF8M | CF3M |
| 7 | 填 料 | GRAPHITE、R-PTFE、PTFE、TEFLON、PCTFE | ||||
| 8 | 螺 柱 | 35CrMoA | 06Cr19Ni10 | 06Cr19Ni10 | 06Cr17Ni12Mo2 | 06Cr17Ni12Mo2 |
| 9 | 螺 母 | 30CrMoA | 06Cr19Ni10 | 06Cr19Ni10 | 06Cr17Ni12Mo2 | 06Cr17Ni12Mo2 |
| 10 | 電動裝置 | 組合件 | 組合件 | 組合件 | 組合件 | 組合件 |
電動法蘭球閥技術規范
| 公稱壓力PN(MPa) | 1.6 | 2.5 | 4.0 | 6.4 | 10.0 |
| 殼體試驗壓力(MPa) | 2.4 | 3.75 | 6.0 | 9.6 | 15.0 |
| 高壓液體密封試驗壓力(MPa) | 1.76 | 2.75 | 4.4 | 7.04 | 11.0 |
| 低壓氣體密封試驗壓力(MPa) | 0.6 | 0.6 | 0.6 | 0.6 | 0.6 |
| 設計制造 | GB/T 12237、GB/T 21385、API 6D、API 608、ASME B16.34 | ||||
| 結構長度 | GB/T 12221、API 6D、ASME B16.10 | ||||
| 法蘭尺寸 | JB/T 79、GB/T 9113、HG/T 20592、HG/T 20615、SH/T 3406、ASME B16.5等 | ||||
| 檢驗試驗 | JB/T 9092、GB/T 26480、API 6D、API 598 | ||||
| 控制方式 | 開關到位燈(開關兩位控制)、智能調節(4~20mA模擬量信號控制) | ||||
| 電源電壓 | 單相220 VAC、三相380 VAC、遠程24 VDC (50Hz) | ||||
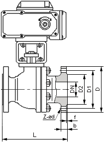
電動法蘭球閥主要尺寸
| 公稱壓力 PN | 公稱通徑 DN | 外形及連接尺寸/mm | |||||
| L | D | D1 | D2 | b-f | Z-?d | ||
| 16 | 15 | 130 | 95 | 65 | 45 | 16-2 | 4-14 |
| 20 | 140 | 105 | 75 | 58 | 18-2 | 4-14 | |
| 25 | 150 | 115 | 85 | 68 | 18-2 | 4-14 | |
| 32 | 165 | 140 | 100 | 78 | 18-2 | 4-18 | |
| 40 | 180 | 150 | 110 | 88 | 18-2 | 4-18 | |
| 50 | 200 | 165 | 125 | 102 | 18-2 | 4-18 | |
| 65 | 220 | 185 | 145 | 122 | 18-2 | 8-18 | |
| 80 | 250 | 200 | 160 | 138 | 20-2 | 8-18 | |
| 100 | 280 | 220 | 180 | 158 | 20-2 | 8-18 | |
| 125 | 320 | 250 | 210 | 188 | 22-2 | 8-18 | |
| 150 | 360 | 285 | 240 | 212 | 22-2 | 8-22 | |
| 200 | 400 | 340 | 295 | 268 | 24-2 | 12-22 | |
| 250 | 450 | 405 | 355 | 320 | 26-2 | 12-26 | |
| 表中為HG/T 20592-2009標準PN16法蘭連接浮動球球閥尺寸,如需其他規格參數,請來電咨詢! | |||||||
電動法蘭球閥結構圖

如果你需訂購我廠電動球閥產品,咨詢時煩請注明規格型號,如無法提供,請告知公稱通徑、公稱壓力、閥體和內件材質、使用介質、工作溫度、端部連接形式等。本產品電動執行器可選用普通開關型、調節型、隔爆型等。
網站首頁