黃銅Y型過濾器產品概述
黃銅Y型過濾器是一種殼體和中部螺蓋等由H62、HPb59-1等材質鑄制而成,適用于濾除溫度為-40℃~180℃的氧氣、空氣、飽和蒸汽、水及其他非腐蝕性液體等介質中所攜帶的固態顆粒物,以起到凈化物料,提高產品純度,保護泵、閥門、壓縮機等工藝設備正常工作和運轉的管道附件。
黃銅Y型過濾器是我廠主要為氧氣管網系統凈化而研制的,其制造過程中經工藝處理后,也適用于氮氣、氬氣、燃氣等一般性質氣體,油類中的固體雜質也可使用它進行分離。本產品端部連接形式多為螺紋,主要應用在公稱尺寸不大于100mm(DN≤100)的輸送管路上,螺紋連接拆卸方便。
黃銅Y型過濾器部件材料
| 序號 | 部件名稱 | 材料名稱 | |||
| 1 | 殼 體 | H62 | HPb59-1 | ZCuZn31Al2 | ZCuZn16Si4 |
| 2 | 中部螺蓋 | H62 | HPb59-1 | ZCuZn31Al2 | ZCuZn16Si4 |
| 3 | 濾 筒 | 304 | 304 | 304 | 304 |
| 4 | 濾 網 | 304 | 304 | 304 | 304 |
| 5 | 墊 片 | PTFE | PTFE | PTFE | PTFE |
| 6 | 排污螺塞 | 304 | 304 | 304 | 304 |
黃銅Y型過濾器性能規范
| 公稱壓力PN(MPa) | 1.0 | 1.6 | 2.5 | 2.0 |
| 殼體強度試驗壓力(MPa) | 1.5 | 2.4 | 3.8 | 3.0 |
| 密封性能試驗壓力(MPa) | 1.1 | 1.76 | 2.8 | 2.2 |
| 設計制造 | GB/T 8464-2008 鐵制和銅制螺紋連接閥門 | |||
| 螺紋標準 | GB/T 7306.1、GB/T 7306.2、GB/T 7307、GB/T 12716、ASME B1.20.1等 | |||
| 檢驗試驗 | JB/T 9092-1999、API 598-2016 | |||
| 過濾精度 | 10目 ~ 500目 | |||
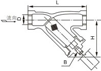
黃銅Y型過濾器主要尺寸
| 公稱壓力 PN | 公稱通徑 DN | 公稱尺寸 NPS | D (in) | 外形尺寸/mm | |
| L | H | ||||
| 16 ~ 25 (Class150)20 | 10 | ? | G?″或NPT?″ | 64 | 51 |
| 15 | ? | G?″或NPT?″ | 64 | 51 | |
| 20 | ? | G?″或NPT?″ | 75 | 60 | |
| 25 | 1 | G1″或NPT1″ | 89 | 72 | |
| 32 | 1 ? | G1?″或NPT1?″ | 102 | 77 | |
| 40 | 1 ? | G1?″或NPT1?″ | 118 | 87 | |
| 50 | 2 | G2″或NPT2″ | 139 | 103 | |
| 65 | 2 ? | G2?″或NPT2?″ | 180 | — | |
| 80 | 3 | G3″或NPT3″ | 200 | — | |
黃銅Y型過濾器結構圖

以上數據為螺紋連接黃銅Y型過濾器,訂購時請說明規格、壓力及材質牌號。我公司可根據用戶要求承接定制,亦可生產PN1.0-2.5MPa法蘭式黃銅Y型過濾器及其他特殊材質。
網站首頁